Ok ... for the millionth time , yes ... Best CAI / SRI with best user based experience / dyno result

bazam83

Well-Known Member
Messages
20
Reaction score
2
Greetings from egypt
i own
R18a
stock
and i want a basic setup with some decent HP gains even if were taking 3-4 hp
my plan to start with typically is a intake
so Takeda . PRL . K&N ?
SRI or drop in ?
please i dont want any errors or non reliable stuff
 
Welcome to the site.

hondata flashpro and Ktuner are the only plug and play ecu tuning options available for the r18 model (at least in the United States).

You can type in your ECU info on this page for compatibility. I don't think it'll work since you're in Egypt though.
https://www.hondata.com/index.php?_route_=flashpro

Ktuner's ecu range is listed here -
http://ktuner.com/12civicr18/

R18 owners have said without tuning the car, there really isn't a performance difference. It will really only add additional noise of the intake. You need to be able to tune the ecu to keep it from just adjusting the stock tune. Check those sites to see if your ecu may be compatible before doing anything.
 
thanks man
actually im not into ecu tuning yet , maybe when i get desperate :)
 
Pull the intake resonator box and add a better filter panel. Anything else won't do much without flash pro, and you won't gain much even with it. From experience with an SRI/spacer the car ran terribly until I ran a tune. Even a base map is better than nothing.

Throttle response was much improved with the resonator pulled and a K&N drop in filter. After that the SRI didn't make any difference, other than running bad, until I got it tuned.
 
that sounds good ... but what is a resonator
and they put it there for a reason ? what it for
PS im a doctor :) so in plain English plz
 
The resonator is a big plastic box to help make the intake quiet since most people don't drive their Civic for performance. It also makes the intake location high in the engine bay. It's very safe for all driving conditions.

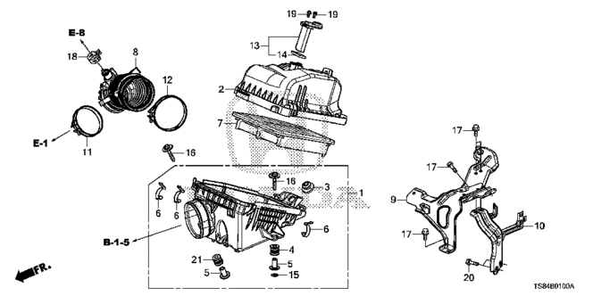
This is your stock air box:

6c45d8a2ef63327d9e2ad1997bb4a9c1.gif







The resonator sits below it and is this big plastic thing. It attaches at B1-5 above to the B-1 in this image. remove this whole thing and you effectively have a cheap short ram intake.
Remove all this and you should feel a difference.
ad8aac94c6ce0bd7082e73a538a60402.gif





You may have to remove the bumper to get to it all. Its a lot cheaper than any SRI/CAI and the effect is the same until you get tuned/Hondata flash pro. I ran this setup with a K&N drop in filter and felt that it worked better than an SRI. The short ram is better now but it required flash pro for the car to not run poorly. It was noticeable.
 
nice .... very nice
which drop in did u use ?
AFe or K&N
 
I used the K&N. It was on sale. I think either is fine.
 
Back
Top